Özellikler

ISO 9001 Kalite Sistem Sertfikası.

Maksimum akışkanlık için tam geçiş.

ISO 228 Dişi X Dişi bağlantı.

Endüstriyel, Tesisat ve sulama sistemlerinde kullanılmak üzere geniş kullanım alanı.

Sıcaklık -10°C + 90°C

Teknik Özellikler

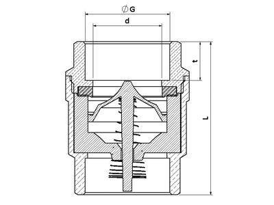
ANMA ÖLÇÜSÜ G
(mm)
d
(mm)
L
(mm)
t
(mm)
1-2" 15 15 47 12
3/4" 20 20 57 14
1" 25 25 63 15
1 1/4" 32 32 70 16
1 1/2" 40 40 83 18
2" 50 47 92 20
2 1/2" 65 60 115 22
3" 80 76 125 20
4" 100 98 115 22

 


Alışveriş Sepetim